VF 6.250 Fixed-Angle Rotor

Product No:C63141

The VF 6.250 is a fixed-angle rotor for the Allegra V-15R benchtop centrifuge designed to centrifuge up to 6 x 250 mL tubes.



For applications, the rotor develops centrifugal forces that can efficiently pellet bacterial cells from large volumes, or particles from tissue homogenates. Short column methods (such as partially filled tubes) may also be used to purify a large quantity of virus in a step gradient.

Spezifikationen

Platform Allegra
Rotor Type Fixed-Angle
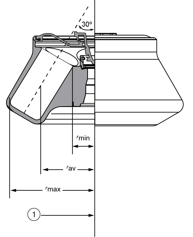
Angle 30°
Maximum RPM 5,450 rpm
Max g-Force 4,824 xg
k-Factor 11,185
Adapters C63403, C63404, C63405, C63406
Number of Tubes 24 x 15 mL, 54 x 1.5 mL, 6 x 250 mL, 6 x 50 mL
Nominal Capacity 1500mL
rMAX 145
rMIN 39
rAV 92 mm
BioSafe Yes
Materials Anodized Aluminum
Package Quantity 1